Instrucción Técnica Complementaria sobre Calderas e Intercambiadores de Calor
Terminología y Definiciones
- Caldera: Aparato a presión que transforma calor en energía utilizable a través de un medio en fase líquida o vapor.
Una caldera es un intercambiador de calor diseñado para transferir energía, generalmente generada por combustión, hacia un fluido (como agua o vapor), que posteriormente se transporta a un consumidor. Existen también calderas eléctricas, pero su incidencia en aplicaciones industriales es limitada.
- Tipos de Calderas:
- De vapor: Medio de transporte es vapor de agua.
- De agua caliente: Agua a temperatura inferior a 110 °C.
- De agua sobrecalentada: Agua a temperatura superior a 110 °C.
- De fluido térmico: Medio de transporte es un líquido distinto al agua.
Clasificación de Calderas por Aplicación
- Usos domésticos: Diseñadas para calefacción individual o comunitaria de pequeña escala.
- Generación de energía en plantas termoeléctricas: Producen vapor sobrecalentado para turbinas generadoras de electricidad.
- Plantas de cogeneración: Utilizan gases calientes de turbinas o motores para generar vapor.
- Aplicaciones marinas: Usadas en barcos para generar vapor motriz.
- Plantas industriales: Generan energía para procesos internos, como:

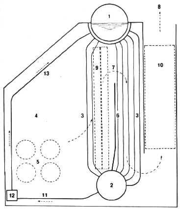
- 1. Depósito nodriza de fuel-oil
- 2. Caldera de vapor
- 3. Economizador gases de combustión
- 4. Depósito de almacenamiento agua
alimentación calderas
- 5. Desgasificador térmico agua alimentación de calderas
- 6. Cambiador térmico de placas para recuperación
del calor de purga
|
- 7. Depósito recuperador de purga continua de
calderas
- 8. Depósito de almacenamiento agua tratada
- 9. Cambiadores tratamiento de agua
- 10. Depósito almacenamiento salmuera
- 12. Depósito almacenamiento ácido
|
Fig. 1: Esquema de principio de una central de generación de vapor saturado

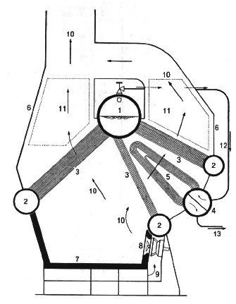
Fig. 2: Esquema de principio de una central de generación de energía
eléctrica con vapor a contrapresión para el proceso

1. Caldera de agua sobrecalentada
2. Equipo doble de combustión
3. Bombas red a consumidores
4. Bomba circulación a.c.s. calderas
5. Evacuación gases combustión |
6. Depósito expansión nitrógeno
7. Depósito alimentación
8. Bomba alimentación
9. Equipo de preparación de combustible |
Fig.3: Esquema de principio de una central de generación de agua sobrecalentada

Fig. 5: Calderas pirotubulares de tres pasos, con uno y dos hogares ondulados (sección longitudinal).

Fig.6: Caldera acuotubular para generación de
agua sobrecalentada (sección transversal)

Fig.7: Caldera acuotubular para generación de vapor (sección transversal)
Clasificación de Calderas
por diseño
- Tubos de humo (pirotubulares): Los gases calientes circulan por los tubos rodeados por agua.
Los gases de combustión circulan a través de tubos sumergidos en agua. Características principales:
-
Utilizan hogares ondulados para mejorar la resistencia y permitir la dilatación.
-
Diseñadas con tres pasos de humos para optimizar el rendimiento.
-
Adecuadas para aplicaciones de mediana potencia.
- Tubos de agua (acuatubulares): Agua circula dentro de los tubos, mientras los gases calientes los rodean.
El agua circula por tubos rodeados de gases calientes. Ventajas:
-
Generan vapor o agua sobrecalentada.
-
Incorporan calderines para separar vapor y economizadores para precalentar el agua.
-
Ideales para altas presiones y potencias.
- Calderas automáticas: Operan sin intervención manual, salvo para encendido o reinicio tras un evento de seguridad.
- Calderas manuales: Requieren intervención continua para su operación.
Componentes Esenciales de una Caldera
Sobrecalentadores
Dispositivos que elevan la temperatura del vapor, transformándolo en vapor seco para evitar condensación. Existen dos tipos:
- De radiación: Utilizan el calor radiado por la combustión.
- De convección: Aprovechan los gases calientes.
Economizadores
Calientan el agua de alimentación utilizando los gases de combustión. Se clasifican en:
- Integral: Incorporados en calderas acuotubulares.
- Accesible: Diseñados para facilitar la limpieza de los tubos.
- De prevaporización: Calientan el agua hasta su temperatura de saturación.
Precalentadores de Aire
Calientan el aire de combustión usando calor residual. Tipos:
Accesorios Principales
- Manómetros: Miden la presión en la caldera.
- Indicadores de nivel: Controlan la altura del agua dentro de la caldera.
- Válvulas de seguridad: Previenen presiones excesivas.
- Quemadores: Mezclan aire y combustible para la combustión.
- Separadores de vapor: Eliminan agua del vapor generado.
- Interruptores de bajo nivel: Detienen el quemador si falta agua.
Dispositivos Complementarios
- Grifos de prueba: Verifican el nivel de agua.
- Sopladores para hollín: Limpian ductos acumulados de cenizas.
- Tapones fusibles: Actúan como alarmas ante niveles bajos de agua.
- Medidores de caudal y temperatura: Registran flujos y temperaturas clave.

Fig.8: Esquema de flujo de una caldera de
generación de agua sobrecalentada

Fig.9: Secciones de una caldera de generación de agua sobrecalentada
Ahorro Energético y Mantenimiento
El rendimiento de una caldera puede optimizarse mediante:
- Uso eficiente de combustibles.
- Incorporación de economizadores y precalentadores.
- Mantenimiento periódico para evitar incrustaciones y corrosión.
Componentes Básicos
- Quemadores: Mezclan y encienden combustible y aire.
- Zona de radiación: Maximiza la transferencia de calor directo.
- Zona de convección: Genera vapor al transferir calor desde los gases de combustión.
- Chimenea: Expulsa gases residuales, minimizando pérdida de calor.
- Economizadores: Precalientan agua de alimentación usando el calor residual.
- Sobrecalentadores: Aumentan la temperatura del vapor generado.
- Calentadores de aire: Mejoran la combustión precalentando el aire.
Intercambiadores de Calor
Los intercambiadores permiten transferir calor entre fluidos de diferente temperatura separados por una barrera metálica. Se clasifican según el flujo y construcción:
- Tubos concéntricos: Flujo paralelo o contraflujo.
- Tubos y coraza: Usados en procesos industriales.
- Compactos: Diseños con aletas para mayor eficiencia térmica.
- Tubos en U y cabezales flotantes: Adaptables a variaciones térmicas.
- De teflón: Resistentes a la corrosión química.
Generadores de Vapor
Las calderas, también conocidas como generadores de vapor, convierten energía térmica en vapor para múltiples aplicaciones. Se clasifican en residenciales, comerciales, industriales y para generación eléctrica. En las calderas industriales, el vapor generado puede desarrollar trabajo mecánico al liberar energía térmica contenida.
Fenómenos Principales
- Combustión: Quema de combustibles fósiles, aceites o gas natural para generar calor.
- Transmisión de calor: Desde el hogar hasta las superficies de intercambio térmico.
- Evaporación: Conversión del agua en vapor.
- Sobrecalentamiento: Incremento adicional de la energía del vapor.
Ahorro Energético en Calderas
El objetivo es producir calor al menor costo posible, reduciendo el consumo de combustible y optimizando otros costos asociados:
- Combustible: Representa el 75-85% del costo total.
- Electricidad y agua: Reducir pérdidas con sistemas eficientes.
- Mantenimiento: Evitar depósitos de hollín y optimizar el rendimiento.
Medidas de Ahorro:
- Ajuste de la combustión para minimizar pérdidas.
- Instalación de economizadores y calentadores de aire.
- Retorno de condensados para reducir consumo de agua y combustible.
- Implementación de sistemas de control de oxígeno (O2) para optimizar la combustión.
Ejemplo Práctico: Una caldera de 10 toneladas/hora trabajando con gas natural puede lograr ahorros significativos al ajustar quemadores, instalar economizadores y mejorar la recuperación de condensados, con un periodo de retorno de inversión de aproximadamente 3 años.
Producción Estimada de Calderas
- Pirotubulares: Usadas para bajas presiones y capacidades hasta 2,100 kg/h.
- Acuatubulares: Alcanzan capacidades de hasta 450,000 kg/h, con presiones de diseño de hasta 12.4 MPa.
Términos destacados :
- Ahorro energético (Energy savings)
- Alimentación directa (Direct feed)
- Anillo de cierre hidráulico (Hydraulic sealing ring)
- Área de convección (Convection area)
- Área de radiación (Radiation area)
- Caldera acuotubular (Water-tube boiler)
- Caldera automática (Automatic boiler)
- Caldera manual (Manual boiler)
- Caldera pirotubular (Fire-tube boiler)
- Calentador de aire (Air heater)
- Carbonización (Carbonization)
- Chimenea (Chimney)
- Combustión (Combustion)
- Condensados (Condensates)
- Control de oxígeno (Oxygen control)
- Costo del mantenimiento (Maintenance cost)
- Eficiencia térmica (Thermal efficiency)
- Economizador (Economizer)
- Evaporación (Evaporation)
- Flujo a contracorriente (Counterflow)
- Flujo paralelo (Parallel flow)
- Generador de vapor (Steam generator)
- Instrumentación (Instrumentation)
- Intercambiador de calor (Heat exchanger)
- Intercambiador de tubos y coraza (Shell and tube heat exchanger)
- Período de retorno (Payback period)
- Pérdida de calor (Heat loss)
- Presión máxima de servicio (Maximum service pressure)
- Presión de diseño (Design pressure)
- Quemador (Burner)
- Recuperación de calor (Heat recovery)
- Regulación progresiva (Progressive regulation)
- Regulación todo/nada (On/off regulation)
- Sobrecalentador (Superheater)
- Succión de tanque (Tank suction)
- Temperatura de diseño (Design temperature)
- Transferencia de calor (Heat transfer)
- Tubo de bayoneta (Bayonet tube)
- Tubería concéntrica (Concentric tube)
- Viscosímetro (Viscometer)
La optimización del funcionamiento de calderas y sistemas de intercambio de calor, mediante el ajuste de parámetros clave, la instalación de economizadores y tecnologías de control, no solo mejora la eficiencia energética, sino que también reduce costos operativos y el impacto ambiental. |