HIDROSTÁTICA
Temas previos : HIDROSTÁTICA : Presión. Concepto y ejemplos. Hidrostática. Principio de Pascal. Transmisión de la presión. Diferencia fundamental entre los sólidos y los fluidos. Prensa hidráulica.
Presión en un punto de la pared de un recipiente
Sea un vaso de forma cualquiera ( figura siguiente ), cuyas paredes contengan
aberturas de igual extensión y cerradas por émbolos movibles.
Supongamos que este vaso esté exactamente lleno de un líquido, que, para el rigor de la demostración, admitiremos como incompresible y sin peso.

Figura: La presión se ejerce en todo sentido
Si sobre el émbolo superior ejercemos
una presión cualquiera, de 2 Kg. por ejemplo, esta presión se
transmite instantáneamente y sin perder nada de su valor, a la
pared interna de los otros émbolos. Cada uno de estos émbolos
recibirá, por lo tanto, de dentro a fuera y perpendicularmente a
su superficie, la presión de 2 Kg. y será menester aplicar al
exterior una fuerza de 2 Kg., cuando menos, a cada uno de los
émbolos para que no salgan al exterior.
Lo mismo sucederá con cada porción de las paredes del vaso, de superficie igual a la del émbolo, y también por cada porción
igual, en la masa del líquido.
Al suponer que uno de los émbolos laterales fuese de tamaño doble,
sobre su faz interior recibiría una presión de 4 Kg. y sería preciso equilibrarlo al exterior con 4 Kg.
En el almacén habremos observado, en las latas prismáticas de aceite de 5 litros, que las mismas parecen "hinchadas" (fig. 1).

Figura1. La presión es normal a las paredes del recipiente.
Lo mismo habremos apreciado en el taller mecánico o en la estación de servicio de automóviles con las latas que contienen solventes, aceites lubricantes, etc.

Figura 2. El agua del globo sale perpendicular a la tangente.
Si llenamos con agua una lata en desuso, a la que previamente le hemos hecho varias perforaciones, observaremos que el agua sale como indica la figura 2.
Si llenamos un globo con agua y luego lo pinchamos en distintos lugares, observaremos que el líquido sale como en la figura 2. En consecuencia, las presiones que ejercen los líquidos en equilibrio sobre las paredes del recipiente, son normales (perpendiculares)a las masas.
Para contrarrestar este fenómeno es que los tanques para líquidos (camiones, vagones,. latas, etcétera) se hacen cilíndncos (figura 3).

Figura 3. Tanques de almacenamiento de petróleo. Observe su forma cilíndrica (gentileza de YPF).
Presión en un punto del seno de un líquido.
Suspendamos varios cuerpos según indica la figura 4. Esperemos a que el líquido esté en reposo (equilibrio). Observaremos que inguno de los cuerpos sufre modificaciones de posición.

Figura 4. Como las presiones son iguales en todos los sentidos, el líquido está en equilibrio.
Considerando esos cuerpos como puntos, podremos decir que las presiones ejercidas sobre un punto, en el seno de una masa líquida, son iguales en todas direcciones y sentidos (por lo tanto, se anulan, y los cuerpos permanecen en equilibrio).
Los hombres rana y los buzos pueden efectuar trabajos debajo del nivel del mar o río porque las presiones son iguales en todos los sentidos; por eso, se anulan y permiten la libertad de movimientos.

Figura 5. La presión es igual en todos los sentidos y permite los movimientos del buzo.
La diferencia con el trabajo en la atmósfera es que el agua ofrece más rozamientos que el aire (figura 5).
En esta figura,
p1 = p2
p3 = p4;
en consecuencia, el punto O permanece en equilibrio.

Figura 6. La presión de de abajo hacia arriba depende de la mayor o menor profundidad considerada.
Si introducimos en un líquido parte de varios tubos, con sendas planchuelas en los extremos que sumergimos, tal como indica la figura 6, y soltamos los hilos que las sujetaban, observamos que dichas planchuelas no caen.

Figura7. La presión de abajo hacia arriba es igual a la presión que ejerce la columna de líquido que tiene por altura la distancia entre el extremo del tubo y la superficie libre del líquido.
Ello se explica por la existencia de las presiones p1, p2, p3, y p4; ratificando los dos conceptos anteriores:
1) Las presiones son perpendiculares a las superficies;
2) Las presiones se ejercen en todas direcciones y sentidos (p1, p2, p3, y p4 tienen distintos sentidos y direcciones);
3) Las presiones de abajo hacia arriba son iguales a las presiones de arriba hacia abajo (fig. 7).
Presión en el fondo del recipiente
Para estudiar este aspecto debemos tener en cuenta lo observado en la experiencia denominada paradoja hidrostática. El aparato consta de (fig. 8a):
a) Una palanca AB;
b) En B hay un tapón que, por acción del peso en A, ajusta perfectamente en el anillo T;
c) En el anillo T se colocan, sucesivamente, vasos de distintas formas (fig. 8 b), pero que en sus bases tienen unas boquillas que ajustan perfectamente en el anillo T.

Figura 8 a y b. Esquema del aparato para la paradoja hidrostática
Se observa que, cualquiera sea el vaso empleado, el tapón cede al alcanzar el líquido, en todos ellos la misma altura. En consecuencia, la presión que ejerce un líquido sobre el fondo del recipiente, no depende de la forma del mismo ni de la cantidad de líquido que contiene: depende de la altura alcanzada por el líquido, y dicha presión también es normal (perpendicular).
Es por esto que los baldes comunes poseen forma de tronco de cono invertido. De esta manera, la presión en el fondo es equivalente a la que tendrían si fuesen cilíndricos. Sin embargo. contienen mayor cantidad de líquido, sin que por ello aumente la presión en el fondo (fig.9).

Figura 9. La presión en el fondo del recipiente depende del nivel alcanzado por el líquido y no de la cantidad de líquido

Figura 10. Todos los recipientes tienen igual superficie, y como en todos el nivel es el mismo, se produce la misma presión en el fondo.
En la figura 8 todos los recipientes tienen la misma base, a pesar de que sus formas no son iguales, y los líquidos contenidos en ellos ejercen las mismas presiones en el fondo, por haber alcanzado en todos el mismo nivel.
| Presión sobre el fondo de los vasos: La presión ejercida por un líquido sobre el fondo horizontal del vaso que lo contiene
es igual al peso de una columna líquida cuya base es el fondo del
vaso, y la altura, la distancia vertical desde el fondo hasta la superficie libre. |
Demostración. Sea P la presión de un líquido sobre un fondo horizontal de superficie S, situado a una profundidad a, de
la superficie libre.
Si d representa el peso de un centímetro cúbico del líquido,
y V el volumen de la columna considerada, tenemos:
P = Vd gramos.
Siendo cilíndrica esta columna: V = Sa [cm3]
Así, pues:
P = Sad [gramos].
Se verifica prácticamente esta ley con el aparato de Masson.
Aparato de Masson
Se atornillan sucesivamente en la plataforma fija D los tres vasos sin fondo A B C de

volúmenes diferentes, pero de misma base. Un disco plano E ( obturador),
que cierra el fondo, se sostiene con un hilo por medio
de una misma pesa colocada en el platillo de la balanza. Se echa
agua poco a poco en el vaso y se nota que el obturador movible E
se separa las tres veces, cuando el agua llega al mismo nivel I, en los vasos; luego, la presión sobre el fondo depende sólo de la
altura del líquido y no de su volumen.
La presión es independIente de la forma y del peso total del líquido
que contiene.
En el vaso cilíndrico A, la presión en el fondo es exactamente igual al peso del líquido contenido en el vaso.
En el vaso B, que se ensancha en la parte superior, la presión
es inferior al peso del líquido.
En un vaso C que se estrecha por arriba, la presión es surperior
al peso del líquido.
Parecen estos resultados extraños a primera vista, y por eso se
les ha dado el nombre de paradoja hidrostática; pero se explican
fácilmente, teniendo en cuenta las presiones que ejerce el liquido
sobre las paredes laterales.
Teorema general de la hidrostática
La diferencia de presión entre dos puntos da una masa líquida en equilibrio es igual al producto de la distancia (vertical) entre ellos y el peso específico del liquido.

Figura 11. La diferencia de presión entre dos puntos depende del desnivel entre esos puntos.
La diferencia de presión entre A y B de la figura 11 es
PB - PA = h ρ,
donde
- h = distancia,
- ρ = peso específico.
Así, por ejemplo, un buzo sumergido hasta 5 m soporta una presión igual a la que ejerce la columna de agua de 5 m de altura, más la presión atmosférica (figura 200).

Figura 12. A mayor profundidad, mayor presión.
Un nadador, al estar más cerca del fondo, soporta mayor presión.
es decir, la diferencia
PB - PA = h ρ,
Vasos comunicantes
Son vasos que están unidos entre sí por un tubo. Al llenar dos o más vasos comunicantes con un mismo líquido, observamos la siguiente propiedad (fig. 13): en todas las ramas, el nivel de líquido es el mismo.
Para que un líquido homogéneo esté en equilibrio en varios vasos comunicantes es indispensable que los niveles de este líquido, en los diversos vasos, estén en el mismo plano horizontal .
h1 = h2 = h3 = h4
Luego, los puntos A B C están en el mismo plano horizontal.

Figura 13. Vasos comunicantes: cuando se coloca un líquido, las alturas son iguales en todas las ramas.
Por el principio de los vasos comunicantes, el agua llega a las canillas proveniente del tanque colocado sobre el techo.


Figura 14. Pozo artesiano: caso natural de vasos comunicantes.
Por el mismo principio, surge el agua de los pozos artesianos (fig. 14). Puede suceder que el agua de un río filtre a través de una capa de arena aprisionada entre dos capas impermeables de arcilla (1 y 2).
Si se perfora el pozo a hasta la arena, el agua tenderá a elevarse hasta el nivel del río, en virtud del principio de los vasos comunicantes, y si el río tiene un nivel superior al del terreno en que se cava el pozo, se tendrá un pozo surgente, llamado también artesiano, por haberse perforado los primeros de este tipo en la provincia francesa de Artois.
Entre 3 y 4 hay otra capa de agua que ha de provenir de otro río situado mucho más alto y más lejos; si se perfora el pozo b hasta esta 2º capa, se tendrá agua mejor, por ser más filtrada y a mayor altura, pues el depósito está más alto que el de la 1º capa.


Figura 15. Niveles de agua con tubo metálico y de manguera flexible
Otra aplicación muy divulgada de los vasos comunicantes es el nivel de agua (fig. 15). La posición que toma el líquido marca la horizontal del lugar; por eso se emplea para determinar visuales horizontales. Los tubos en U que vemos debajo de las piletas son vasos comunicantes, los que se colocan para que siempre exista un nivel de líquido, que cumple funciones higiénicas (fig. 16).


Figura 16. Aplicaciones de los vasos comunicantes.
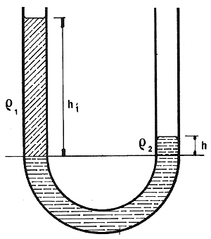
Equilibrio en el caso de dos líquidos. Para que dos líquidos no miscibles y de densidades diferentes se mantengan en equilibrio en dos vasos comunicantes, es preciso que las alturas de los líquidos, encima del plano horizontal de separación, sean inversamente proporcionales a las densidades respectivas.
Si en dos vasos comunicantes se colocan líquidos no miscibles (que no se mezclen), las alturas alcanzadas por cada uno resultan inversamente proporcionales a los pesos específicos de esos líquidos (fig. 17); es decir, a mayor peso específico, menor altura; a menor peso específico, mayor altura.

Figura 17. Vasos comunicantes con líquidos no miscibles: las alturas son inversamente proporcionales a los pesos específicos.
Si en los dos tubos comunicantes representados en la figura 18 siguiente se vierten agua y mercurio, las alturas h y h' del agua y del mercurio, encima del plano horizontal de separación BB' serán en razón inversa de sus densidades respectivas.
En efecto, si en el plano BB' tomamos en ambos vasos dos puntos isobaros, sus presiones son iguales y se tiene:
p (en B) = hd; p' (en B') h'd'
De donde


Figura 18. Dos líquidos
en vasos comunicantes.
Este principio nos permite hallar las densidades de varios líquidos, conociendo la densidad de uno de ellos y las alturas respectivas en los vasos comunicantes.
En el caso de la figura 18, ¿cuál es la densidad del mercurio si h = 39 cm., h' = 3 cm. y d = 1 gr/cm3.?
Se tiene:

El resultado será de 13 gr/cm3
Tema relacionado :
Conceptos destacados :
| pressure in a fluid |
(presión en un fluido). En un líquido en equilibrio, la presión se transmite y actúa sobre superficies internas del recipiente. |
| pressure at a point |
(presión en un punto). En hidrostática, la presión en un punto del líquido se ejerce en todas direcciones. |
| piston |
(émbolo). Dispositivo móvil que cierra una abertura y permite aplicar o recibir presión sobre el líquido. |
| incompressible fluid |
(fluido incompresible). Modelo ideal en el que el volumen del líquido no cambia al variar la presión. |
| pressure transmission |
(transmisión de la presión). La presión aplicada a un fluido se comunica instantáneamente a las paredes y a los puntos del líquido. |
| normal pressure |
(presión normal). La fuerza debida a la presión actúa perpendicularmente (normal) a la pared o superficie considerada. |
| internal wall pressure |
(presión sobre la pared interna). Presión ejercida desde el interior del líquido sobre las paredes del recipiente. |
| perforated container experiment |
(experiencia del recipiente perforado). Muestra que el agua sale en dirección aproximadamente perpendicular a la pared, evidenciando presión normal. |
| cylindrical tank |
(tanque cilíndrico). Forma usada para almacenar líquidos porque distribuye mejor los esfuerzos debidos a presiones normales. |
| hydrostatic equilibrium |
(equilibrio hidrostático). Estado en el que las presiones se compensan en todas direcciones, manteniendo el líquido en reposo. |
| equal pressure in all directions |
(presión igual en todos los sentidos). En un punto del seno del líquido, las presiones se equilibran por actuar en sentidos opuestos. |
| hydrostatic paradox |
(paradoja hidrostática). La presión en el fondo no depende de la forma del recipiente ni del volumen total, sino del nivel (altura) del líquido. |
| bottom pressure |
(presión en el fondo). Presión ejercida sobre el fondo del recipiente, determinada por la altura de la columna líquida. |
| liquid column |
(columna líquida). Volumen idealizado cuya base es el fondo del recipiente y cuya altura llega hasta la superficie libre. |
| Masson apparatus |
(aparato de Masson). Dispositivo experimental para verificar que la presión en el fondo depende del nivel del líquido y no del volumen. |
| shutter disk |
(obturador). Disco plano que cierra el fondo del vaso en el aparato de Masson y se separa cuando la presión supera el peso equilibrante. |
| general theorem of hydrostatics |
(teorema general de la hidrostática). La diferencia de presión entre dos puntos del líquido depende del desnivel vertical y del peso específico. |
| communicating vessels |
(vasos comunicantes). Recipientes unidos por un tubo; con el mismo líquido, los niveles se igualan en todas las ramas en equilibrio. |
| artesian well |
(pozo artesiano). Caso natural asociado a vasos comunicantes: el agua asciende hasta el nivel del reservorio de alimentación. |
| immiscible liquids |
(líquidos no miscibles). En vasos comunicantes, sus alturas sobre el plano de separación son inversamente proporcionales a sus densidades. |
|