POLEAS
Ver temas previos:
Condición de equilibrio

Figura1.
La polea es otra máquina simple (fig. 1). Consta de un disco de madera o de metal, con una garganta en la periferia, que permite se le adapte una soga, una cadena, etc., en un extremo de la cual se ha sujetado un cuerpo -la resistencia-, mientras que en el otro se aplica una fuerza, llamada potencia. Por desplazamiento de la soga o cadena, la polea gira alrededor de un eje, que se encuentra en el centro y que descansa en un soporte de forma de horquilla, dotado de un gancho (es la armadura o chapa de la polea).
Tipos de polea
POLEA FIJA.
Lo es cuando gira sin
que se desplace el eje (figura 2).

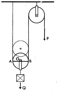
Figura2. Polea fija: P. potencia; Q. resistencia; O punto de apoyo (eje); r. radio de la polea
(brazos) .
Condición de equilibrio.
Experimentalmente, se comprueba (figura 2) que la polea fija está en equilibrio cuando la potencia es igual a la resistencia.
En símbolos,
P=Q
Observemos la figura 2, donde el diámetro AOB sería una palanca de primer género, de brazos iguales; por lo tanto,
PAO=QOB,
en la que
AO=OB
y que, simplificada, es
P=Q
POLEA MÓVIL
Una polea es móvil si al deslizarse la soga o cadena se produce simultáneamente un desplazamiento de la polea (figura 3).
Obsérvese en la figura 4 cómo va dispuesto el peso y cómo un extremo de la soga está fijo.

Figura 4. Polea móvil
Condición de equilibrio.
Experimentalmente, se comprueba que en toda polea móvil la potencia es igual a la mitad de la resistencia.
En símbolos,

Observamos que, al aplicar la fuerza P, la polea se desplaza como apoyada en A (cada punta de la parte fija de la soga sirve de apoyo para el desplazamiento).
En este caso, el diámetro AOB actúa como palanca de segundo género; luego, en el equilibrio es
PAB = QAO
o sea,
P2 r = Q r
que, simplificada, queda
2P = Q
luego,

que es la expresión que se cumple experimentalmente.

Figura 5. Al aplicar la potencia y desplazar la cuerda en un valor h, la polea se desplaza la mitad.
En la figura 5 podemos deducir fácilmente cómo el peso del cuerpo se reparte en partes iguales en ambos puntos de la soga; como un extremo irá sujeto, por acción y reacción anula ese esfuerzo y sólo queda el de la potencia, que es la mitad del peso suspendido.
| CARACTERÍSTICAS DE AMBAS CLASES DE POLEAS |
Polea fija :
a) La resistencia se suspende de la cuerda.
b) Tiene movimiento de rotación.
c) El camino recorridó por la potencia es igual al recorrido por la resistencia.
d) En equilibrio, P = Q. |
Polea móvil :
a) La resistencia se suspende del gancho.
b) Tiene movimiento de rotación y de traslación.
c) El camino recorrido por la potencia es igual al duplo del recorrido por la resistencia.
d) En equilibrio, P = Q/2. |
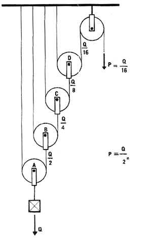
APAREJO POTENCIAL
Es el conjunto de dos o más poleas móviles y una fija, dispuestas como indica la figura 6.
Condición de equilibrio.
Experimentalmente, se comprueba que un aparejo potencial está en equilibrio cuando la potencia es igual a la resistencia dividida por dos elevado al número de poleas móviles.
En símbolos,

donde
p = potencia
Q =resistencia
n = número de poleas móviles.
En todos los casos de equilibrio de poleas hemos considerado despreciable el peso de las poleas.
Si observamos la figura 6, deducimos que:

Figura 6. Aparejo potencial



que permite calcular la resistencia conociendo la potencia y el número de poleas móviles. El número de poleas n se puede obtener en base a logaritmos. Observamos que el divisor varía con las potencias menores de 2; por ello, se llama aparejo potencial.
APAREJO FACTORIAL.
Es el sistema formado por dos o más poleas móviles, reunidas en una sola armadura, y un número igual de poleas fijas, también en una sola armadura.
La resistencia pende de la última polea móvil. Observemos enla figura 7 cómo va pasando la soga por todas las poleas. En el extremo libre aplicamos la potencia, que hará subir a la armadura de las poleas móviles. El diámetro de las poleas aumenta hacia los extremos, para lograr el paralelismo de las sogas en sus distintas partes; de tal modo se obtiene la disposición más ventajosa.

Figura 7. Aparejo factorial de tres poleas móviles.
Condición de equilibrio. Experimentalmente, se comprueba que
el aparejo factorial está en equilibrio cuando la potencia es igual a la resistencia dividida por el duplo de poleas móviles.
En símbolos,


Figura 8. Aparejo factorial de cuatro poleas móviles.
Problemas resueltos
1 - Un cuerpo de 200 se levanta mediante un aparejo potencial de 3 poleas móviles. ¿Cuál es el valor de la potencia?
Solución
Como

Respuesta 25 
2- Un cuerpo es sostenido mediante un aparejo potencial de 5 poleas. Si la potencia aplicada es de 60 , ¿cuál es el peso del cuerpo?
Solución
Como

Respuesta 1.920 
3- Mediante un aparejo factorial de 4 poleas móviles se equilibra un cuerpo de 500 . ¿Cuál es la potencia aplicada?
Solución
Como

Respuesta 62,5 
4- En un aparejo potencial de 4 poleas móviles se aplica una fuerza de 30 para mantener el sistema en equilibrio. Se desea saber cuál es el valor de la resistencia.
Solución
Como

Respuesta 480
5- En los extremos de una soga que está sobre una polea fija se han colocado dos cargas, de 5 y 7 . Si el radio de la polea es de 20 cm, ¿cuál es el momento que hace girar la polea?
Solución

Como son de distinto sentido, la diferencia es el momento que hace girar la polea. es decir,
1,4 kgm - 1 kgm = 0,4 kgm.
6- Calcular el valor absoluto de los momentos de las fuerzas según los datos de las figuras siguientes;

7- Marcar el signo del momento de cada una de las fuerzas dadas en el ejercicio
anterior con respecto al punto O.
8 - Indicar los valores de X en los siguientes casos:

Respuestas :

|