| Mortising attachment (woodworking), accesorio de escoplear |
| Mortising chisel, formón, bedano de mortaja, escoplo |
| Mortising machine. ( Mechanical Engineering ) A machine employing an auger and a chisel to produce a square or rectangular mortise in wood . Escopleadora, máquina de mortajar, mortajadora, máquina de enmuescar. ( Ingeniería mecánica ) Una máquina que utilizando una barrera y un cincel sirve para producir una entalla cuadrada o rectangular en una pieza de madera . |
| Mortising, de mortajar |
| Mosaic setter, mosaiquista |
| Mosaic, mosaico, (televisión) pantalla mosaica (Electrónica - Electronics ), De un tubo de cámara, un electrodo que consiste en un conjunto de puntos fotoemisores aislados individualmente, sobre los que se enfoca la imagen óptica . Los fotoelectrones liberados de estos puntos, en número proporcional a la luz que incide sobre ellos, forman una imagen de carga sobre la superficie del mosaico. |
| Mosaics, fotoplano |
| Mosciki condenser, condensador Mosciki. |
| Mosquito -breeding area, criadero de mosquitos |
| Mosquito netting, redecilla para mosquiteros, tela mosquitera |
| Mosquito screen, mosquitero |
| Mosquito trap, trampa de mosquitos |
| Mosquito, mosquito, zancudo |
| Mother aircraft, ( Aeronautical Terminology - Terminología Aeronáutica ) avión nodriza, de control. El que lleva los aparatos electrónicos para dirigir un avión sin piloto. |
| Mother lode (minng), filón principal |
Motherboard, tarjeta base o madre ( Informática y Computación ) Tarjeta principal de circuito impreso en un dispositivo electrónico, que contiene conectores que aceptan tarjetas adicionales. En un computador personal, la tarjeta base contiene el bus, los conectores (zócalos) de la CPU y del coprocesador, los conectores de la memoria, el controlador del teclado y los chips de soporte. Los chips que controlan la visualización del video, los puertos seriales y paralelos, las unidades del mouse y de disco pueden encontrarse o no presentes en la tarjeta base. In caso de no ser así, son controladores independientes que se conectan en una ranura de expansión en la tarjeta base. |
| Motile (laboratory), movible, mótil |
| Motility, motilidad, movilidad |
| Motion bars, guías de la cruceta |
| Motion link, guía del paralelogramo |
| Motion picture apparatus, aparato cinematográfico |
| Motion pictures, cinematografía |
| Motion shaft, árbol del paralelogramo |
| Motion siderod, biela del paralelogramo de Watt |
| Motion or Movement. ( Mechanics ) A continuous change of position of a body. Movimiento (Mecánica), continuo cambio de posición de un cuerpo; accelarated motion , movimiento acelerado; motion ahead, marcha adelante; alternate motion , movimiento de vaivén; angular motion , movimiento angular; back motion , movimiento de llamada; double motion switch, conmutador de dos movimientos; eccentric motion, movimiento de excéntrica; equable motion , movimiento uniforme; oscillatory motion, movimiento oscilatorio; pendulum like motion , movimiento pendular; reciprocating motion , movimiento alternativo; rectilinear motion , movimiento rectilíneo; rotary motion, movimiento circular; rotatory motion , movimiento de rotación; single motion switch, conmutador de un movimiento; slow motion , a cámara lenta (cine); taking motion , movimiento arrollador y estirador; two motion selector, selector de dos movimientos; uniform motion, movimiento uniforme; uniformly accelerated motion , movimiento uniformemente acelerado; uniformly retarded motion, movimiento uniformemente retardado; uniformly variable motion , movimiento uniformemente variado; to and fro motion , movimiento de vaivén; to set in motion, poner en movimiento. |
| Motional impedance, impedancia mocional, impedancia cinética .(Electrónica - Electronics ), De un transductor, la impedancia compleja que se obtiene restando las impedancias cuando las partes móviles están sujetas y cuando pueden moverse libremente. |
| Motive power, fuerza motriz |
| Motive, motor, motriz; electro motive , electromotor, electromotriz; electro motive force, fuerza electromotriz; magneto motive force, fuerza magnetomotriz. |
| Motocrane, grúa de camión |
| Motometer (automobile), motómetro |
| Motomixer (trademark)(concrete) hormigonera de camión |
| Motonautics, motonáutica . |
|
| Motor barge, lancha automotora |
| Motor boat, canoa automóvil |
| Motor bus, autocar |
| Motor car, automóvil |
| Motor -circuit switch (electricity), interruptor de circuito de motor |
| Motor converter, motor-convertidor |
| Motor cycle, motocicleta |
| Motor drive, accionamiento o impulsión por motor |
| Motor driven, accionado por motor, movido a motor, mandado por motor, accionado o impulsado por motor
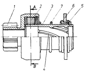
Mecanismo de arrastre del automóvil. (Automóvil - Automobile)
Este conjunto formado por un piñón de mando (1 - fig. 2) y un mecanismo de arrastre (fig. 1) tiene la misión de transmitir el movimiento del rotor del motor de arranque a la corona del motor térmico en el automóvil, e impide que en el movimiento de arranque, o puesta en funcionamiento del motor arrastre al piñón y órganos móviles del motor de arranque.

Figura 1 - A, piñón de mando con rueda libre y manguito de acoplamiento;

- colector
- devanado inducido
- inducido
- manguito de acoplamiento
- muelle del manguito
- piñón y rueda libre
- anillo de tope
- arandela de apoyo axial
Figura 1-B,conjunto del inducido completado con el dispositivo de rueda libre.
Si el piñón estuviera engranado constantemente a la corona, debido a la gran reducción de transmisión que existe entre ambos (1/8 a 1/15), al arrancar el motor térmico el inducido o rotor sería arrastrado a velocidades excesivas que producirían su total destrucción por centrifugación, tanto del colector como de los conductores del tambor. Por este motivo, es preciso que el engrane sólo se realice en el momento de efectuar el arranque y quede desacoplado una vez puesto en marcha, para que no sea arrastrado por la corona del motor térmico.

Figura 2A Mecanismo de arrastre

Figura 2.B Mecanismo de rueda libre.
Sistemas de desplazamiento del piñón.
Según el sistema empleado para acoplar el piñón bendix a la corona, existen dos tipos de mecanismos de arrastre, uno cuyo desplazamiento se realiza por medio de una horquilla y palanca accionada por el relé de mando, y otro cuyo acoplamiento se realiza al desplazarse el piñón en su eje, por efecto de inercia.
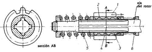
Mecanismo de engrane por horquilla
Este mecanismo empleado en la mayoría de los motores de arranque también denominados burro de arranque, está constituido esencialmente (figs. 1A y 2) por un piñón (1), generalmente de nueve dientes, montado a través de un casquillo en el eje del rotor y solidario a un mecanismo de rueda libre (2A), con enclavamiento por rodillos (figura 2B). Este mecanismo de rueda libre va montado sobre un eje soporte de levas (3), que dispone en su interior unos canales en hélice (4) para su desplazamiento por las estrías del eje del rotor, o por el eje soporte intermedio, según el tipo empleado. Sobre este eje va montado un casquiIlo polea (5) para el acoplamiento de la horquilla, de mando (6) y un muelle de compresión (7) montado coaxialmente con el eje soporte levas.

Figura 3A. Mecanismo de arrastre
de leva invertida.

Figura 3B. Rueda libre con las rampas de anclaje en el interior del soporte
Según la disposición de las rampas de anclaje en la rueda libre, existen varios tipos de mecanismo de arrastre, entre los que se pueden destacar los siguientes:
- Conjunto piñón de campana (fig. 2A). Empleado para motores de tipo convencional, el cual lleva las rampas de anclaje (fig. 2B) talladas en la zona exterior del soporte (3).
- Conjunto piñón de leva invertida (fig. 3A). Empleado para motores de tipo convencional, el cual lleva las rampas de anclaje (fig. 3B) talladas en la zona interior del soporte.
- Conjunto piñón de leva invertida (fig. 4). Empleado para motores con reductora, también con las rampas de anclaje talladas en la zona interior del soporte (3).
- Conjunto piñón de leva invertida (fig. 5A). Empleado para motores con reductora y soporte intermedio (8), el cual dispone en su exterior unas estrías helicoidales (4) por las cuales se desplaza el soporte intermedio (3), y unas acanaladuras rectas (9) en el interior para deslizarse por el eje del inducido. La figura 5B representa un mecanismo de arrastre, con la variante respecto al anterior, de ir guiado por medio de rodillos de agujas y de no llevar las estrías helicoidales.

Figura 4. Conjunto piñón de leva invertida para motores con reductora: A, con pieza postiza (8) adaptada al soporte y muelle de prisión cónico; B, con muelle cilindrico.

Figura 5. Conjunto piñón de leva invertida y soporte intermedio para motores con reductora: A, giro directo; B, giro por medio de rodillo de agujas.
Mecanismo de engrane por inercia

Figura 6.
Este mecanismo (fig. 6) suele montarse en algunos motores de tipo convencional y está formado por un piñón (1), con unas estrías interiores en hélice (2), el cual va montado sobre un casquillo (3) tallado exteriormente en hélice, para acoplarse al piñón, y unos canales rectos (4) en su interior para poderse acoplar y deslizar axialmente sobre el eje del rotor; mantiene su posición de reposo sobre el mismo por medio del muelle de compresión (5) y del muelle de recuperación (6).
|
| Motor element (telephone, telegraph), elemento motor o impulsor |
| Motor exciter, motor de excitación |
| Motor fan set, grupo motoventilador |
| Motor frame (automobile), bastidor del motor |
| Motor gasoline, gasolina para motores |
| Motor generator set, grupo de motor y generador, juego de motor y dínamo |
Motor generator, motor generador, motogenerador  |
| Motor glider, ( Aeronautical Terminology - Terminología Aeronáutica ) planeador con motor. |
| Motor grader, autopatrol, grader. ( Mechanical Engineering ) A high-bodied, wheeled vehicle with a leveling blade mounted between the front and rear wheels; used for fine-grading relatively loose and level earth . Motoniveladora . ( Ingeniería mecánica ) Vehículo con ruedas de bastidor elevado con una pata niveladora montada entre las ruedas anteriores y posteriores; utilizada para nivelaciones finas relativarnente móviles y para aplanar tierra . Motoniveladora, explanadora de motor, motocaminera, autoniveladora, motoconformadora, conformador de motor |
| Motor launch, lancha automotriz |
| Motor lorry, camión automóvil |
| Motor meter (electricity), contador de motor |
| Motor oil, aceite lubricante para motores |
| Motor -operated switch (electricity), interruptor a motor, interruptor accionado por motor |
| Motor operated, con mando a motor |
| Motor output, gasto de un motor |
| Motor patrol (road), patrulladora automotriz, (en Argentina) moto patrullero, autopatrullera |
| Motor pendulum, balancín motor |
| Motor pump, motobomba |
| Motor reducer. Speed-reduction power transmission equipment in which the reducing gears are integral with drive motors. Motorreductor, ( Ingeniería mecánica ) Equipo de reducción de velocidad y transmisión de potencia en el que los engranajes de reducción forman conjunto integral con los motores de accionamiento. |
| Motor roller, aplanadora automotriz |
| Motor -running protection (electricity), protección de motor en funcionamiento |
| Motor -scooter, motoneta, motopatín, (en Argentina) andador, monopatín mecánico |
| Motor scraper (earthwork), traílla automotriz |
| Motor set, grupo de motores |
|