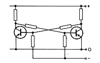
| Multivibrator, multivibrador (Electrónica - Electronics ), Un circuito constituido por dos circuitos activos, estando la salida de cada uno de ellos acoplada con la entrada del otro. Como consecuencia del alto grado de realimentación positiva así generado, el circuito sólo presenta dos estados estables. Si ambos dispositivos activos son tubos electrónicos o transistores del mismo tipo, entonces en uno de los estados uno está al corte y el otro está saturado, y en el otro estado ocurre al revés. Si se utilizan transistores complementarios, ambos se encuentran al mismo tiempo al corte en un estado y saturados en el otro. Si el acoplo entre dispositivos es directo, como en la figura siguiente, ambos estados son estables y el circuito se denomina biestable.
Fig. Circuito multivibrador biestable. Para producir la conmutación entre estados, se necesitan unas señales de disparo, siendo por tanto muy útil como contador binario o como elemento de memoria .
Si uno de los acoplos es directo y el otro capacitivo, se obtiene un estado estable y otro inestable. El circuito así constituido se denomina monoestable y permanece en el estado estable mientras no se produzca una señal de disparo, mediante la cual pasa al estado inestable durante un intervalo de tiempo definido por la red de acoplo. Se suele utilizar como generador de retardo.
Finalmente, si ambos acoplos son capacitivos, ambos estados son inestables y el circuito se denomina aestable. En este caso se encuentra generando pulsos continuamente sin necesidad de señales de disparo. Sin embargo puede sincronizarse a la frecuencia de cualquier señal recurrente que se le aplique ; one shot multivibrator, multivibrador de disparo |
| Multivoltage, multivoltaje |
| Multivariable, de variables múltiples |
| Multiway, multidireccional |
| Multiwire, con varios conductores, de alambres múltiples, multifilar |
| Multizone (petroleum), zona múltiple |
| Mumetal, aleación de níquel-hierro-cobre para usos eléctricos |
| Municipal engineering, ingeniería municipal |
| Municipal utilities, empresas municipales |
| Munitions, municiones |
| Muntin, parteluz, barra de ventana; larguero central de puerta |
| Muntz metal, metal Muntz |
| Muriate, muriato, cloruro |
| Muriatic acid, ácido clorhídrico, ácido muriático |
| Muscovadite (geology), muscovadita |
| Muscovado (sugar mill), muscovado |
| Muscovite, moscovita, mica blanca |
| Mush area,( Aeronautical Terminology - Terminología Aeronáutica ) area de gran perturbación |
| Mushroom valve, válvula de asiento cónico, válvula de seta |
| Mushroom air diffuser (air conditioning), dispersor tipo de hongo |
| Mushroom anchor, ancla de campana o de seta |
| Mushroom head (screw) (colunn), cabeza fungiforme o de hongo |
| Mushroom valve, válvula tipo hongo |
| Mushroom ventilator, ventilador de campana, ventilador tipo hongo |
| Mushroom, champiñón; to mushroom, abombarse, hincharse |
| Mushy, recepción con ruidos (radio) |
| Muskeg, turbera |
| Muslin insulation, aislación de muselina |
| Must preparation, preparación de los mostos |
Must, jugo, mosto  |
| Mutator, mutador |
| Muting switch (radio), interruptor silenciador |
| Muting, silenciamiento (Electrónica - Electronics ), La supresión del canal de audio de un equipo. A veces los receptores de FM están equipados con un circuito de silenciamiento que suprime la salida de audio si la señal recibida no sobrepasa un cierto valor. Entonces, la señal emerge desde un fondo silencioso cuando se produce la sintonía . |
| Mutual capacitance (electricity), capacitancia mutua |
| Mutual conductance (electricity), transconductancia, conductancia mutua |
| Mutual impedance, impedancia mutua (Electrónica - Electronics ), Entre cualquier conjunto de dos terminales de una red, la relación entre la tensión en circuito abierto en un par y la corriente en el otro par, estando el resto de los terminales en circuito abierto. |
Mutual inductance, inductancia mutua, coeficiente de inducción mutua, inductancia mutua . (Electrónica - Electronics ), Una propiedad de dos circuitos por la que un cambio de corriente en uno de ellos origina una FEM (fuerza electromotriz ) inducida en el otro. Esta viene dada por M di/dt, donde M es la inductancia mutua; i es la corriente en uno de los circuitos. La aplicación más común del concepto de inductancia mutua se tiene en el transformador, en el que dos devanados están enrollados en un núcleo magnético común para que su valor sea máximo. |
| Mutual induction, inducción mutua |
| Mutual inductor, inductor mutuo |
| Mutual reactance, reactancia mutua |
| Mutual, mutuo |
| MVS (Multiple Virtual Storage), almacenamiento virtual múltiple ( Informática y Computación ) Introducido en 1974, el principal sistema operativo usado en los mainframes de IBM (los otros son VM y DOS/VSE). El MVS es un sistema operativo orientado al procesamiento por lotes que maneja grandes cantidades de memoria y espacio en disco. Las operaciones en línea se obtienen con CICS, TSO y otro software de sistemas |
| Muzzle velocity, velocidad inicial |
| Muzzle, boca (cañón), buza (orificio), tubuladura |
| mW, mW, ( Mecánica ) See: miliwatt. |
| MW, MW, ( Mecánica ) See: megawatt. |
| Mycalex (trademark), plástico aislador, micalex |
| Myklestad method, método Myklestad, ( Ingeniería aeroespacial ) Método para determinar las formas y frecuencias de modo de los modos de torsión lateral de los vehículos espaciales, tomando en consideración los efectos secundarios de la inercia rotativa y de fricción, en el que se imaginan masas que hay que concentrar en un número infinito de puntos a lo largo del haz, con propiedades elásticas que permanecen constantes entre los puntos de masa consecutivos. |
| Mylonite (geology), milonita |
| Mylonitic, cataclástico, milonítico |
| Myoglobine, mioglobina . |
| Myriagram, miriagramo |
| Myriameter, miriámetro |
| Myriawatt, miriavatio |
|